
Vivo S10 5G Live Image and Poster Leaked
Vivo to add another smartphone in its S-series, named Vivo S10. So, ahead of its launch, the key specifications of this phone have been...

Honor X20 SE 5G launched in China
Honor has recently launched its Honor X20S SE 5G smartphone with some decent specs and features. So, without wasting much time, let's get into...

Infinix Concept Phone 2021: The Phone of the Future
Apart from the regular smartphones, the urge of making concept phones has been increasing gradually. Most of the companies have their own concept smartphones...

VIVO X60T Pro+ Launched: specifications and pricing
Vivo has launched another device in its X60 series of smartphones, named Vivo X60T Pro+. This is also a flagship-level smartphone with some extraordinary...
AGM launched the X5 5G smartphone with a rigid body
AGM is Chinese smartphone manufacture, mainly known for its rugged build phones. Recently, it has launched the AGM X5. It is said to be...
Infinix Smart HD 2021 and X1 Android TV have been announced...
Infinix has finally announced its Smart HD 2021 smartphone and revealed its Indian pricing as well. Also, the company has confirmed its launch date...
Xiaomi Mi 11 new image of rear panel with camera setup...
Xiaomi is about to launch its upcoming flagship lineup, the Xiaomi Mi 11 series. This series is likely to have two models: Mi 11...
VAIO laptops to return in the market, Flipkart teases its video
Indian online retailer Flipkart has posted a teaser video regarding a return of a prominent laptop brand, Vaio. Like seriously, we are hearing this...
[Report] Future iPhone models to feature Antennas and Touch ID in...
A recent report has come out from Apple saying that the future iPhones will feature Antennas and Touch ID in the display. If this...
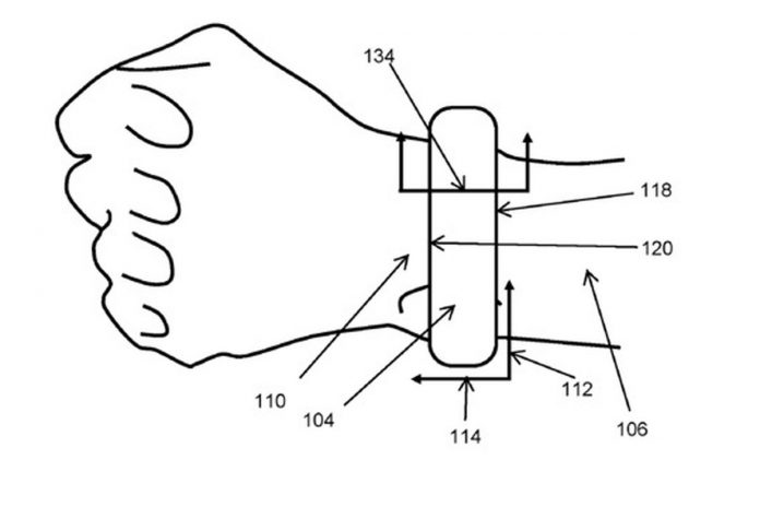
Apple to launch a new wearable blood pressure device, patent application...
Apple to make a new step regarding the health and fitness-related for its devices. From an early age, Apple has been actively improving in...







![[Report] Future iPhone models to feature Antennas and Touch ID in the display [Report] Future iPhone models to feature Antennas and Touch ID in the display](https://technosports.co.in/wp-content/uploads/2020/12/ezgif-2-57b61b888785-696x359.jpg)

